Connex-Electronics.com
connex-electronics.com
 Connex Connector Product Specification Sheet
Part Number 60055-000
Family/Series: STRAIn-RELIEF BOOTS
Product Type: STRAIn-RELIEF BOOTS
Description: Rg 174/U Strain-Relief Boots
 
Specifications
Electrical
Color Orange
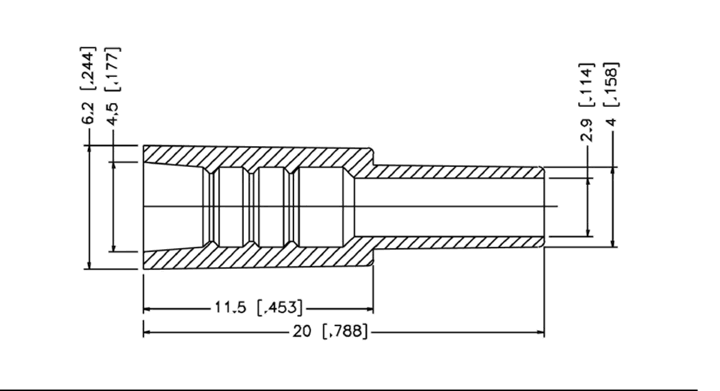
Schematic Drawing
Connex part number 60055000 schematic